海威中天·ANPU安璞
-
项目地址
浙江,萧山
-
建筑单位
杭州海铂房地产开发有限公司
-
建筑方案
GOA
在杭州萧山的繁华城芯,一场关于建筑与永恒的实践正悄然生根。海威中天·ANPU安璞以"永兴、永序、永流传"为精神内核,将东方隐逸哲学与现代建筑技艺完美融合,重塑了都市豪宅的价值标准。
作为海威中天的匠心之作,ANPU安璞通过幕墙系统的创新运用与多元材料的完美融合,在萧山城市源点缔造了一座既具国际视野又蕴含东方美学的建筑艺术品。
GEOGRAPHICAL
LOCATION
CHAPTER 01
GEOGRAPHICAL
LOCATION

萧山源址的价值恒藏
THE VALUE OF XIAOSHAN SOURCE SITE


▲ 项目区位图
ANPU安璞落位于萧山北干中芯区域,坐拥市心路与金城路交汇的“黄金十字轴带”。这里不仅是萧山人文渊源的所在,更是城市现代化发展的“中心恒藏区”与滨萧一体化战略的先锋区域。
项目约2公里范围内,区政府、万象汇、北塘河公园等优质资源环抱,地铁2号线与5号线举步可达,在都市繁华与生活静谧之间,寻得恰到好处的平衡。

DESIGN
CONCEPT
CHAPTER 02
DESIGN
CONCEPT

隐逸美学的现代转译
MODERN TRANSLATION OF RECLUSIVE AESTHETICS

ANPU安璞的设计溯源东晋名士许询的隐逸精神,以"大隐于市,回归本真"为哲学内核,通过现代建筑语言完成东方美学的当代转译。
项目集结goa大象设计、顺景园林、名谷设计、CCD、MDO、bpi六大顶尖团队,形成建筑、景观、室内、照明一体化的设计联盟。团队以"一轴两区四园两巷"的空间序列为骨架,构建从城市喧嚣渐次过渡到私密静谧的递进式体验,再现传统园林"渐入佳境"的空间哲学。

▲ 项目设计团队
多元集成的精工美学
HARMONIOUS SONATA OF DIVERSIFIED MATERIALS
ANPU安璞作为中天海威联袂打造的高端隐奢作品,以极简而不失温度的设计哲学,通过幕墙系统的精工营造,重新定义了当代豪宅的立面美学标准。
建筑形制上,项目以现代简洁的立面构图重塑传统意象,通过精致细节与温暖米色石材的巧妙搭配,形成独具辨识度的建筑符号。




项目集十一种幕墙系统于一体,涵盖铝板幕墙、石材幕墙、蜂窝铝板、T型钢玻璃幕墙、全玻系统、层间陶板、玻璃窗墙系统等多元类型,通过材料的精准配比与工艺创新,构建出丰富的立面层次。
CURTAIN
WALL
CHAPTER 01
CURTAIN
WALL

高层住宅幕墙系统
HIGH RISE RESIDENTIAL CURTAIN WALL SYSTEM

高层建筑外立面融合铝板、陶砖及石材等多种材料,兼具铝材线条的轻盈挺拔、陶釉面温润多变的光泽感,以及石材的厚重沉稳,形成丰富的视觉层次与独特的艺术张力。
(
陶板幕墙系统
)
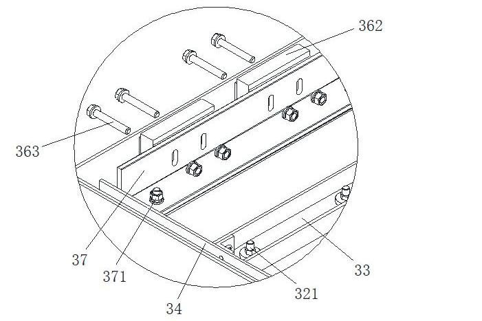
在幕墙系统设计过程中,我们注意到层间陶板线条造型的施工存在显著痛点:传统小尺寸陶棍安装难度大、固定不牢靠,不仅影响外观效果,还存在安全隐患。




▲ 做法节点
针对这一痛点,我们提出将异形陶棍与铝板整体组合预制的思路,并在前期与施工方和厂家充分沟通技术可行性。
在方案实施阶段,所有组合面板均在工厂背栓锚固,同时,在陶棍背面加结构胶,二次防止破碎掉落即使发生意外破损,也能有效防止碎片脱落,显著提升系统安全性。
现场仅需整体吊装固定,大幅减少高空作业量,提高施工效率与精度。



▲ 构造细节及立面效果
(
玻璃窗墙系统
)
在追求立面轻盈通透的建筑表达中,竖隐横明玻璃窗墙系统因其视觉通透性被广泛采用。然而在项目实际应用中,我们发现其存在两个关键痛点:一是补偿块与中挺之间的密拼缝难以精准控制,易产生视觉割裂,削弱整体立面的简洁与精致感;二是传统窗墙系统通常仅开发一套通用型材模具,无法适配不同厚度的玻璃——当玻璃厚度变化时,室内侧常会暴露密封胶条,严重影响观感品质。
针对上述问题,我们深入思考幕墙系统“形式”与“构造”的关系,提出核心设计原则:以定制化实现精细化,以精准匹配保障视觉纯粹性。
由此形成明确解决思路 —— 为每种玻璃厚度配置专属的铝合金立柱型材,通过高度定制化的截面设计,确保玻璃与型材之间实现毫米级对位,消除缝隙偏差与胶条外露。
在方案落地阶段,我们联合旭格系统窗技术团队,基于这一理念重新开发了七套定制模具,覆盖项目中所有玻璃配置需求。每套模具均经过多轮打样与现场试装验证,最终不仅实现了“严丝合缝”的极简立面效果,也完整保留了也保障了幕墙系统的性能与施工可行性。


▲ 玻璃窗墙内外落地效果

CURTAIN
WALL
CHAPTER 02
CURTAIN
WALL

社区示范区幕墙系统
COMMIUNITY DEMONSTRATION ZONE CURTAIN WALL SYSTEM

ANPU安璞的社区规划如同一幅可步入、可触摸的都市山水长卷,巧妙运用现代造园手法,营造出“仰观流云,俯听溪泉”的诗意栖居体验。
(
铝合金窗套系统
)
为实现大面玻璃“无边框、全隐框”的纯净立面效果,项目面临多重挑战:窗边框与钢副框在视觉上难以隐藏,常规窗套拼接缝多、转角不平整,且室内常可见扣盖或连接件,破坏整体感。
针对上述痛点,我们的解决策略围绕“以构造服务于美学”展开:将铝合金窗套与层间造型一体化设计,通过定制型材与精细化节点,在遮蔽结构的同时塑造连续、干净的视觉界面。
具体实施中,团队采取以下关键措施:
采用铝合金窗套型材:型材折角挺直,单根加工长度可达约6米,有效减少立面的拼接缝,增强整体感。



45度角拼接与铝角码加强:窗套转角位置采用45度拼接,并增设平整连接铝角码,以控制拼缝宽度,提升转角平整度。



室外侧扣盖设计:为优化室内视觉感受,窗套型材扣盖统一设于室外侧,从室内视角呈现完整、统一的铝合金窗套外观。
幕墙龙骨连接构造:因应结构与构造条件,窗套型材通过连接角钢从幕墙龙骨挑出安装,避免影响窗户原有防水体系。
(
精细化收口设计
)
在玻璃幕墙与室内精装、室外装饰等多专业交接的关键部位,常规做法往往因细节处理不足而暴露胶缝、结构龙骨或收口错位等问题,影响整体视觉品质。为实现真正一体化的精致效果,我们从设计初期即聚焦两大核心痛点:
痛点一:室内精装铺装面与室外装饰线条均需直接收口于玻璃表面。若未提前统筹构造关系,极易出现胶缝外露、收口不齐或材料干涉等问题。
痛点二:入槽区域内部构造外露,玻璃入槽位置下方的结构龙骨、胶缝等隐蔽构造,在近距离观察时(如首层或大堂区域)容易暴露,破坏立面纯净度。


▲ 节点细节

解决思路与方案落地:在设计之初,我们通过调整玻璃入槽深度(整体下降或上升),为铺装完成面与U型槽之间预留充足安装间隙,避免施工干涉。
此外,我们对所有入槽区域的内侧结构及胶缝统一采用黑色密封胶覆盖,利用色彩消隐原理,在人视高度范围内实现“看不见的构造”。
最终,无论是室内地面收口还是室外线条交接,均实现“无胶可见、无缝可察”的一体化效果,显著提升了幕墙系统的精致度与整体性。



▲ 胶缝细节
入口形象系统 | 精工石材幕墙
▲ 主入口大门


▲ 石材幕墙
泛会所 | 全玻玻璃幕墙


▲ 全玻玻璃幕墙
下层庭院 | T型钢系统
▲ 庭院泳池
连廊过渡空间 | 密拼大板蜂窝铝板

▲ 连廊吊顶
景观墙系统 | 镂空模块石材格栅
▲ 花格栅石材幕墙
面向未来的价值传承
FUTURE ORIENTED VALUE INHERITANCE
ANPU安璞,以"安于璞拙,回归本真"为内核,于都会源点开辟一方隐逸天地,于国际视野里淬炼东方气韵,以历久弥新的至臻品质、大师定制的奢居空间、融贯东西的美学意境、全维革新的生活场景,以及对土地精神的深度共鸣与价值赋能,为懂得恒久价值的藏家,收藏一座城市的恒久流传。它不仅是萧然隐逸文化的当代延续,更是对建筑业可持续发展命题的深刻回应。

项目通过系统性技术创新,精准对接行业发展趋势。十一大幕墙系统的有机整合,实现了建筑节能与健康住宅的深度融合。高性能幕墙系统践行碳中和目标,精细化设计提升居住体验,这种将行业趋势转化为产品力的开发逻辑,为当代住宅建设提供了实践参考。
作为工程实践的重要参与者,弗思特团队将持续以专业技术服务建筑创作,与行业同仁共同推动建筑品质的提升。ANPU安璞这座融合了东方美学与现代技艺的作品,必将以其历久弥新的营造智慧,成为城市建筑演进中值得铭记的篇章。